Markierungswerkzeug Medium Nr. 1570MM Spann- 3 mm Weldon Schaft- 20 mm
E6443319
auf Anfrage
je 1 Stück
keine Verfügbarkeitsinformationen
Funktionen
Verkaufsdaten
| Mindestbestellmenge | 1 Stück |
| Bestellschritt | 1 Stück |
Beschreibung
besonders geeignet für die Kennzeichnung verschiedenster Werkstoffe, wie Aluminium, Titan, Stahl, Bronze, Kupfer, Messing, Kunststoffe · Werkstückunebenheiten von bis zu 6 mm werden kompensiert · mit Weldonschaft
Weitere technische Eigenschaften:
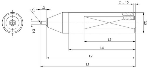
· L5: 50mm
· Schaftausführung: Weldon
· L2: 87mm
· L1: 93mm
· D2: 20mm
· L3: 6mm
· L4: 65mm
· D1: 3mm
Markiernadel muss separat bestellt werden
Weitere technische Eigenschaften:
· L5: 50mm
· Schaftausführung: Weldon
· L2: 87mm
· L1: 93mm
· D2: 20mm
· L3: 6mm
· L4: 65mm
· D1: 3mm
Markiernadel muss separat bestellt werden
Merkmale
| Marke | AMF |
| Spann-Ø | 3 mm |
| Schaft-Ø | 20 mm |